Durata de livrare: 3-5 zile
Carlig stivuitor, cu suport pentru doua furci, manipulare sarcinii ideale pentru preluarea si transportarea in siguranta a incarcaturilor grele. Avem diverse modele cu capacitati de incarcare de la 1000 la 7500 kg disponibile.
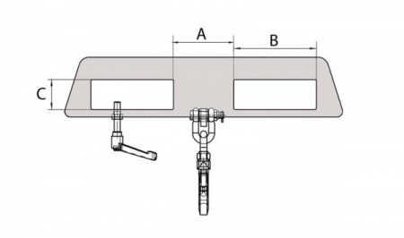
|
TIP |
A |
B |
C |
|---|---|---|---|
|
|
|
|
|
|
LH-II 2.5 |
160 |
220 |
80 |

|
Tip |
Greutate (kg) |
Lungime x Latime x Inaltime |
Vopsit | Galvanizat |
|---|---|---|---|
|
|
|
|
|
|
LH-II 1.5 |
2500 |
170 x 750 x 425 |
22 | 24 |
AMIR,
highly recomended
RaspundeA fost util acest review?
1 persoana a considerat acest review util!